Đồng hồ đo lưu lượng hơi nóng
Đánh giá 0 lượt đánh giá
10.000 VND
Đường kính ống: DN15 ~ DN300.
Chất liệu thân: Carbon Steel A105, Stainless Steel 316L, Hastelloy C276.
Độ chính xác ứng với từng thông số đo:
+ Lưu lượng: ± 1% (of Rate).
+ Lưu lượng khối: ± 1.5% (of Rate).
+ Nhiệt độ: ± 1ºC.
+ Áp suất: ± 0.3% (of FS).
Thời gian phản hồi: 1-100s (có thể điều chỉnh).
Nhiệt độ môi chất đi qua: -200 to 260°C/ 400°C.
Áp suất đường ống: 0~100 bar.
Nguồn cấp: 100-240 VAC, 50/60Hz (hoặc: 12-36 VDC).
Màn hình hiển thị: LCD (2 lines x 16 characters), NEMA 4X IP66.
Ngõ ra: 4-20mA, Relay, Pulse.
Truyền thông: HART (Modbus, BACnet – Optional).
Tóm tắt nội dung: đồng hồ đo lưu lượng hơi nóng là thiết bị quan trọng trong việc đo lưu lượng và kiểm soát hơi nóng trong các hệ thống đường ống dẫn khí và chất lỏng công nghiệp ngày nay.
Trong bài viết này, chúng ta sẽ tìm hiểu về ưu điểm, nhược điểm, cấu tạo, nguyên lý hoạt động, các loại, ứng dụng, cách sử dụng và lưu ý khi sử dụng đồng hồ đo lưu lượng hơi nóng.
Đồng hồ đo lưu lượng hơi nóng hiện đang là một trong những sản phẩm chủ chốt, được XNK HT Việt Nam nhập khẩu trực tiếp. quý khách có nhu cầu sử dụng sản phẩm, vui lòng liên hệ với chúng tôi qua hotline để được tư vấn trực tiếp.
Đồng hồ đo lưu lượng hơi nóng ( flow meter vortex ) là sản phẩm có mặt trong các ứng dụng hơi nước nóng, khí nóng, hơi quá nhiệt,… với vai trò đo lưu lượng, giúp người dùng có thể dễ dàng kiểm soát được lượng hơi đi qua.
Đồng hồ đo lưu lượng điện tử vortex là sản phẩm được đánh giá cao về dộ bền. thân đồng hồ được chế tạo hoàn toàn từ inox 304 hoặc inox 316. Người dùng hoàn toàn có thể yên tâm sử dụng sản phẩm trong nhiều điều kiện môi trường khác nhau.
Với khả năng hoạt động ở mức nhiệt lên tới 350 độ C và áp suất chịu được tới 63 bar thì đồng hồ đo lưu lượng hơi nóng vortex là sản phẩm hoàn hảo cho các đường ống công nghiệp ngày nay.

♦ Độ chính xác cao: Đồng hồ đo lưu lượng hơi nóng được thiết kế để đo lường chính xác lưu lượng hơi nóng trong đường ống. Với khả năng tính toán chính xác dòng xoáy đồng hồ đo lưu lượng Vortex giúp cho việc theo dõi và điều chỉnh quá trình sản xuất trở nên dễ dàng và chính xác hơn.
♦ Độ tin cậy cao: Với công nghệ hiện đại, đồng hồ đo lưu lượng hơi nóng có độ tin cậy cao, hoạt động ổn định trong thời gian dài mà không cần nhiều bảo trì.
♦ Dễ dàng lắp đặt và bảo trì: Đồng hồ đo lưu lượng hơi nóng thường có thiết kế dễ dàng lắp đặt và bảo trì, giúp tiết kiệm thời gian và chi phí cho doanh nghiệp.
♦ Không có bộ phận chuyển động: đồng hồ đo lưu lượng hơi nóng Vortex không chứa các bộ phận chuyển động như đồng hồ turbin truyền thống vì vậy, sản phẩm rất ít khi cần bảo trì.
♦ Kết cấu chắc chắc: inox là vật liệu lí tưởng trong công nghiệp, không chỉ có khả năng chống ăn mòn, chống rỉ sét, chất liệu này còn giúp đồng hồ đo lưu lượng vortex có độ cứng cáp, giảm thiểu rủi ro trong quá trình vận chuyển và lắp đặt.
♦ Không bị ảnh hưởng bởi các yếu tố bền ngoài: đồng hồ đo lưu lượng hơi nóng vortex hoạt động nhờ vào cảm biến đếm dòng xoáy. Do đó các yếu tố như áp suất, nhiệt độ và tỷ trọng hoàn toàn không ảnh hưởng tới kết quả đo.
♦ An toàn vệ sinh: được chế tạo từ chất liệu inox cao cấp, nên đồng hồ nước là sản phẩm có thể sử dụng cho các hoạt động yêu cầu tính vệ sinh cao như dược phẩm, thực phẩm, y tế.
♦ Cần được hiệu chuẩn định kỳ: Để đảm bảo độ chính xác của đồng hồ đo lưu lượng hơi nóng, thiết bị cần được hiệu chuẩn định kỳ theo quy định của nhà sản xuất.
♦ Yêu cầu đoạn ống thẳng cho đầu vào và đầu ra: để đồng hồ đo lưu lượng hơi nóng vortex hoạt động một cách chính xác nhất, nó yêu cầu độ ổn định của dòng chảy nên sản phẩm không nên lắp đặt tại các đường ống cong.

Đồng hồ đo lưu lượng hơi vortex thường bao gồm các thành phần sau:
|
Thành phần |
Mô tả |
|
Thân đồng hồ |
Là bộ phận quan trọng để dòng chảy đi qua và bảo vệ các bộ phận bên trong. Thân được làm từ inox 304, inox 316. |
|
Cảm biến |
Tiếp xúc trực tiếp với hơi nóng và đếm số dòng xoáy được tạo ra |
|
Thanh chắn |
Có cấu tạo đặc biệt để dòng chảy đi qua và tạo ra dòng xoáy. Thanh chắn nằm tại tâm của thân đồng hồ. |
|
Bộ chuyển đổi |
Chuyển đổi tín hiệu từ cảm biến thành tín hiệu có thể đọc được |
|
Bộ hiển thị |
Hiển thị lưu lượng hơi nóng được đo lường |
|
Bảng mạch |
Có thể coi bảng mạch là bộ nào của đồng hồ đo lưu lượng vortex. Bộ phận này đảm nhận vai trò tiếp nhận xung điện và tính toán ra lưu lượng khí đi qua đồng hồ. |
Có nhiều loại cảm biến, bộ chuyển đổi và bộ hiển thị khác nhau để phục vụ cho các mục đích sử dụng cụ thể.

Lựu lượng kế vortex là thiết bị đo sử dụng một cảm biến để đo số vòng xoáy chảy qua đường ống để tính toán ra lưu lượng khí. một đồng hồ đo lưu lượng hơi nóng bao gồm thân, 1 thanh cản, bộ hiển thị và senso.
Khi dòng khí chạy qua thanh cản, nó sẽ tạo ra một luồng khí xoáy ngay tại cạnh bên. Điều này là hiển nhiên và đã được chứng minh. Các xoáy này được gọi là xoáy karman.
Các xoáy này liên tục được tạo ra liên tục ở hai bên thanh cản và tạo ra sự chênh lệch áp xuất. chúng tác động vào senso và tạo ra các sung điện.
Dựa vào những yếu tố khác như vận tốc dòng chảy, chiều rộng thanh cản mà chúng ta có thể tính toán ra được lưu lượng khí đi qua đồng hồ một cách chính xác.
Tần số của xoáy Karman tỷ lệ thuận với vận tốc dòng chảy, Theo phương trình toán học sau:
♦ F = St*v/d
Trong đó:

Lắp đặt đồng hồ đo lưu lượng hơi nóng
Đồng hồ đo lưu lượng hơi nóng vortex là sản phẩm có độ bền cao và sử dụng an toàn trong hầu hết các dạng môi trường. tuy nhiên, sản phẩm vẫn có thể bị hư hỏng nếu sử dụng sai cách.
Dưới đây là một số lưu ý khi sử dụng sản phẩm này. nếu quý khách gặp khó khăn khi sử dụng sản phẩm, hãy liên hệ ngay tới hotline của XNK HT Việt Nam để được hỗ trợ kịp thời.
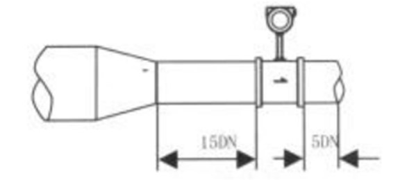
Đồng hồ đo lưu lượng hơi nóng cần được lắp đặt trong một đường ống ống có dòng chảy ổn định. Nếu dòng chảy bị gián đoạn, kết quả đo của đồng hồ có thể bị sai lệch.
Vì vậy trước khi lắp đặt, người dùng cần lưu ý về vị trí và khoảng cách giữa các đoạn ống. dưới dây những điểm cần biết khi lắp đặt đồng hồ đo lưu lượng nước nóng.
|
Kiểu ống phía trước |
Khoảng cách tối thiểu |
|
ống dạng côn thu |
|
|
Hai khuỷu ống 90 độ trên cùng một mặt phẳng |
|
|
ống mở rộng |
|
|
Khuỷu ống 90 độ dạng cung |
|
|
Khuỷu ống 90 độ vuông góc |
|
|
Phía trước có van không mở hoàn toàn. |
|
♦ DN là đường kính danh nghĩa của đồng hồ đo lưu lượng hơi nóng.
Đồng hồ đo lưu lượng hơi nóng được sử dụng rộng rãi trong các ngành công nghiệp như:

Trên đây là những thông tin cơ bản về đồng hồ đo lưu lượng hơi nóng, một thiết bị quan trọng trong các ngành công nghiệp hiện nay. Việc hiểu rõ về ưu nhược điểm, cấu tạo, nguyên lý hoạt động và cách sử dụng đồng hồ đo lưu lượng hơi nóng sẽ giúp bạn lựa chọn và sử dụng thiết bị hiệu quả trong công việc hàng ngày.
Sản phẩm đồng hồ đo lưu lượng hơi nóng hiện đang được XNK HT Việt Nam nhập khẩu và cung cấp trên toàn quốc. khách hàng có nhu cầu, xin vui lòng liên hệ với chúng tôi qua hotline để được tư vấn và sở hữu sản phẩm với mức giá tốt nhất.
Công ty TNHH TM&XNK HT Việt Nam hiện đang là đối tác tin cậy của nhiều doang nghiệp trong và ngoài nước. sau nhiều năm hoạt động, HT dành được nhiều sự tin tưởng của khách hàng.
Với phương châm hoạt động luôn đặt sự an tâm của khách hàng lên hàng đầu, HT Việt Nam cung cấp các chính sách bảo hành và ưu đãi như:
Người gửi / điện thoại
Địa chỉ: Số 7 Ô dịch vụ 10, KĐT Tây Nam Linh Đàm - P. Hoàng Liệt - Q. Hoàng
Mai - TP. Hà Nội
Mã số thuế: 0108628671
Hotline: 0981.625.674 - Mr Kiên
Email hỗ trợ: kd8.htvietnam@gmail.com
STK: 19133913119011 tại Ngân Hàng TMCP Kỹ thương Việt Nam chi nhánh Hà Nội
Website: https://vannuochanoi.com/
Chuyên cung cấp: Van bướm - Van cổng - Van điện từ - Van điều khiển khí nén- Van điều khiển điện




